| Home | Previous | Contents | Next |
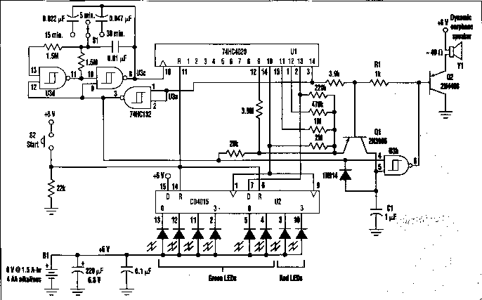
The Electronic Time-Awareness Device W. Stephen Woodward University of North Carolina Venable Hall, CB3290, Chapel Hill, NC 27599-3290 woodward@unc.edu From: Electronic Design - July 12, 1999 - Page 84 People differ greatly in their ability to perceive and manage time, but all of us must struggle occasionally to schedule daily activities in a fashion that "makes ends meet." Moreover, those who suffer from any of a number of specific mental handicaps (e.g., Attention Deficit Disorder and autism) may experience special difficulty with tasks and situations that require effective time awareness. For these individuals, standard timekeeping aids (clocks, alarms) tend to be of limited value. While effective at denoting specific events (e.g., wakeup alarms), they do little to assist the continuous perception of time passage necessary in many life skills. The battery-powered circuit shown was devised as an experiment in aiding individuals with these handicaps by providing a novel qualitative time-measurement tool (see the figure). It generates both visual (sequence of red/green LEDs) and aural (increasing-tempo, metronome-like clicks) outputs that relate to the passage of a preset interval (selectable for 5,15, and 30 minutes), initiated by button press. Momentary closure of SPST switch S2 resets both the 14-bit counter Ul and 8-bit shift register U2. Resetting Ul drives Ul pin 14 low, enabling two oscillators: the interval time base formed by U3c and U3d, and the metronome voltage-to-frequency converter consisting of Q1 and U3b. Resetting U2 lights the eight LEDs (six green and two red). U3c and U3d then proceed to oscillate at a rate selected by S1 equal to 8192 (one half of Uls modulus) times 1/300 Hz, 1/900 Hz, or 1/1800 Hz. The rate depends on whether a timeout interval of 5, 15, or 30 minutes was selected. Including the 8192 multiplier provides the advantage of more manageable RC time constants around U3c and U3d, rather than if the multivibrator had to directly produce fractional hertz output frequencies. Ul divides the output from U3c to produce three signals. One is the Q1O (1/1024) LED clock connected to the clock pins (1 and 9) of U2. This bit will undergo eight cycles in the course of a timed interval. As a result, it causes the U2 shift register to shift in exactly eight "one-bits" as the interval progresses, turning off one LED for each 1/8th of the interval that elapses. Thus, the LEDs wink out one by one as a visual analog of the dwindling fraction of the time remaining. Simultaneously, Ul bits 9 through 13 are summed by a binary-weighted resistor network to form a crude but functional 5-bit DAC. The DAC output current is accepted by the emitter of Q1, which then acts as a digitally controlled current source. The current source charges C1 at a rate proportional to the binary number accumulated in U3, and is proportional to the fraction of the selected interval that has elapsed. C1 periodically ramps to the 0/1 threshold of Schmitt trigger U3b (about 3 V), causing U3 pin 6 to snap low. This turns on Q2, causing speaker Y1 to emit a sharp click, and saturates Q1, resulting in the discharge of C1 via R1 and the collector-base junction of Q1. This cycle repeats at a rate ranging from zero (just following Ul reset) to about 40 Hz near the end of the interval, causing the click rate from the dynamic speaker element to ascend from an occasional tick to an attention-grabbing and annoying buzz. The final output from Ul is bit 14 (pin 3) which, after the accumulation of 8192 pulses from U3c, goes high, disabling the oscillators and ending the timeout cycle. This "off" mode persists whenever the circuit isn't in use. Battery drain in this mode is negligible (sub-microamp). When the circuit is active, current consumption from the 6-V AA array ranges from about 40 mA early on when all eight LEDs are glowing, to about 20 mA when the lamps are out but the speaker is buzzing merrily. The overall battery life is good. After six years, the prototype is still on its original set of batteries.

Figure caption: This circuit aids individuals who have problems keeping track of time by generating visual and aural outputs that indicate the passage of time.
| Home | Previous | Contents | Next |